各省、自治區、直轄市及新疆生產建設兵團衛生健康委(衛生計生委)、中醫藥管理局:
為進一步提高兒童社區獲得性肺炎診療規范化水平,減少和有效控制重癥肺炎發生,確保治療效果,促進兒童健康成長,國家衛生健康委會同國家中醫藥管理局組織制定了《兒童社區獲得性肺炎診療規范(2019年版)》。現印發給你們(可以在國家衛生健康委官方網站醫政醫管欄目下載),請遵照執行。
國家衛生健康委辦公廳 國家中醫藥局辦公室
2019年2月1日
(信息公開形式:主動公開)
兒童社區獲得性肺炎診療規范(2019年版)
世界衛生組織資料顯示,2016年肺炎造成92萬5歲以下兒童死亡,其中98%來自發展中國家。肺炎也是當前我國5歲以下兒童死亡的主要原因之一,其中絕大部分兒童肺炎為社區獲得性肺炎(Community Acquired Pneumonia ,CAP)。社區獲得性肺炎中的重癥難治性支原體肺炎和腺病毒肺炎等遺留的氣道閉塞,是造成兒童患慢性氣道疾病、影響生命質量的重要原因。近年來,我國CAP診療水平有了長足進步,但在一些地方、一些醫療機構還存在抗生素應用不盡合理、檢查方法選擇缺乏針對性等問題。鑒于此,國家衛生健康委、國家中醫藥局組織各相關學科專家,結合我國國情,制定了《兒童社區獲得性肺炎診療規范(2019年版)》,進一步提高診療規范化水平,重點聚焦重癥CAP的診斷和高危因素識別,經驗性和目標治療等,以期降低病死率和后遺癥發生率。
一、簡介
本規范中CAP的定義是指在醫院外(社區)發病的感染性肺炎,包括在醫院外(社區)感染了具有明確潛伏期的病原體而在入院后發病的肺炎。CAP為肺實質和(或)肺間質部位的急性感染,引起機體不同程度缺氧和感染癥狀,通常有發熱、咳嗽、呼吸增快、肺部濕性啰音等表現,并有胸部X線片(以下簡稱胸片)的異常改變。本規范中CAP不包括吸入性以及過敏性等非感染性肺炎。
由于新生兒病原體及臨床表現的特殊性,本規范僅針對生后29天到18歲以下兒童的CAP。我國幅員遼闊,地域、經濟、文化以及衛生環境等存在較大差異,因此本規范僅為總體原則。
二、主要病原譜和耐藥現狀
(一)主要病原譜。
1.呼吸道病毒。呼吸道病毒是嬰幼兒乃至學齡前期CAP的常見病原。常見的呼吸道病毒包括呼吸道合胞病毒、流感病毒、腺病毒、副流感病毒和鼻病毒等。新發病毒有人類偏肺病毒、博卡病毒、新型冠狀病毒、人禽流感病毒等。其他如巨細胞病毒等皰疹類病毒以及腸道病毒等偶可引起CAP。
2.細菌。常見革蘭陽性細菌包括:肺炎鏈球菌(Streptococcus pneumoniae, SP)、金黃色葡萄球菌(Staphylococcus aureus,SA)、A群鏈球菌(Group A streptococcus,GAS)等;常見革蘭陰性細菌包括:流感嗜血桿菌(Haemophilus influenzae,Hi)、卡他莫拉菌(Moraxella catarrhalis,MC)、大腸埃希菌(Escherichia coli,E.coli)、肺炎克雷伯菌(Klebsiella pneumoniae,KP)、銅綠假單胞菌(Pseudomonas aeruginosa)等。其中SP是生后20天至兒童期各年齡段CAP最常見的病原,也是重癥肺炎和壞死性肺炎的最常見病原。SA多感染嬰幼兒,分甲氧西林敏感金黃色葡萄球菌(Methicillin-sensitive staphylococcus aureus,MSSA)和耐甲氧西林金黃色葡萄球菌(Methicillin- resistant staphylococcus aureus,MRSA),MSSA和MRSA均可引起重癥肺炎或壞死性肺炎,我國也有兒童社區獲得性MRSA(CA-MRSA)肺炎報道,該菌感染病死率較高。GAS肺炎多為重癥肺炎或壞死性肺炎。Hi肺炎多見于5歲以下兒童,MC肺炎多見于嬰幼兒,一般不引起重癥CAP。E.coli和KP雖不是CAP的常見病原,但可引起重癥肺炎,多見于嬰兒,或有慢性吸入、先天性心臟病、氣道畸形、免疫功能低下、重癥病毒感染等基礎疾病者。
3.非典型微生物。肺炎支原體(Mycoplasma pneumoniae,MP)不僅是學齡前期和學齡期兒童CAP的常見病原,近年來在1~3歲嬰幼兒亦不少見。肺炎衣原體(Chlamydia penumoniae,CP)多見于學齡期和青少年,但在我國肺炎衣原體獨立引起的肺炎較少報道。沙眼衣原體(Chlamydia trachomatis)多感染6個月尤其是3個月以內的嬰兒。嗜肺軍團菌(Legionella pneumophila, LP)雖不常見,但其可能是重癥CAP的獨立病原或混合病原之一。
4.混合感染。兒童CAP可由混合感染所致,年齡越小,越易發生。
(二)常見細菌耐藥情況簡介。
1.肺炎鏈球菌。對不同種類抗菌藥物表現出不同程度的耐藥。其中,紅霉素、克林霉素和四環素的耐藥率最高,在90%以上,復方新諾明的耐藥超過70%。青霉素耐藥的肺炎鏈球菌(Penicillin-resistant Streptococcus pneumonia, PRSP) 低于10%(非腦膜炎青霉素注射標準),青霉素中介的肺炎鏈球菌(Penicillin-intermediate Streptococcus pneumonia, PISP)高于20%,在某些醫院對頭孢菌素類和美羅培南的耐藥率高于青霉素。對氟喹諾酮類藥物敏感率超過98%,未發現對萬古霉素和利奈唑胺耐藥的菌株。
2.金黃色葡萄球菌。對青霉素的耐藥率高于90%,對替考拉寧、萬古霉素和利奈唑胺100%敏感。MRSA的分離率在逐年上升,目前總體接近30%。
3.流感嗜血桿菌。氨芐西林耐藥率高達60%以上,其中產β-內酰胺酶菌株超過90%。對頭孢克洛的不敏感率高于頭孢呋辛,阿莫西林/克拉維酸或氨芐西林/舒巴坦敏感率高,頭孢曲松和美羅培南100%敏感。對β-內酰胺類以外的抗菌藥物如復方新諾明耐藥率最高,阿奇霉素的耐藥菌株在不斷增多,已超過30%。
4.大腸埃希菌和肺炎克雷伯菌。對頭孢曲松和頭孢噻肟的耐藥率高于頭孢他啶。目前耐亞胺培南和/或美羅培南的大腸埃希菌和肺炎克雷伯菌在逐年增多,肺炎克雷伯菌對碳青霉烯類抗生素的耐藥性明顯高于大腸埃希菌。耐藥性最低的是阿米卡星,其次為氟喹諾酮類藥物。
三、診治思路
(一)確定是否為感染性肺炎。在診斷感染性肺炎之前以及治療反應不佳時,需要除外非感染性肺部疾病和氣道疾病等。
(二)判斷病情輕重和重癥高危因素。重癥肺炎病死率高,應在首診和整個治療過程中動態評估病情輕重和重癥高危因素,以及時優先處理重癥病例。
(三)經驗性治療。初始合理的經驗性治療對于降低病死率和減少后遺癥的發生至關重要,應根據年齡、發病季節、流行病學、臨床和影像學表現、病情嚴重度、有無基礎疾病以及實驗室檢查結果等分析可能的病原,制定合理的治療方案。
(四)目標治療。一旦病原體明確,應及時調整為目標治療,以降低病死率和后遺癥的發生,減少抗生素不合理使用,降低醫療費用。
四、診斷和鑒別診斷
(一)診斷。
1.癥狀。發熱、咳嗽、喘息是CAP最常見的癥狀,病毒性肺炎常出現喘息。年長兒可有胸痛,咯血少見。小于2月齡的嬰兒可無發熱,表現為吐沫、屏氣(呼吸暫停)或嗆咳。持續發熱伴咳嗽超過3~5天,應警惕肺炎的可能。
2.體征。呼吸增快和濕性啰音提示肺炎,尤其是嬰幼兒,支原體肺炎多無啰音。呼吸頻率(respiratory rate,RR)增快標準:平靜時觀察1分鐘:小于2月齡≥60次/分;2月齡~1歲≥50次/分;1歲~5歲≥40次/分;5歲以上≥30次/分。隨著病情加重,出現呼吸淺快、胸壁吸氣性凹陷、鼻扇、三凹征、呻吟和發紺,可有煩躁、萎靡、嗜睡、拒食等。
3.影像學檢查。
(1)胸片。一般狀況良好的門診患兒可不進行胸片檢查,對改善預后無明顯影響。當病情嚴重或考慮有并發癥或臨床表現不典型者,需早期行胸片檢查。
(2)CT。不推薦常規行胸部CT檢查,有以下情況時建議行低劑量胸部CT檢查:臨床表現與胸片不一致;懷疑氣道和肺部畸形、有嚴重并發癥等情況時;療效不佳,需要除外其他疾病如間質性肺疾病、肺結核等。一般無需進行增強CT檢查, 當臨床疑診血管畸形、肺部畸形、腫瘤或評價嚴重并發癥等時, 建議直接進行胸部增強CT掃描。
4.并發癥。
(1)肺內并發癥。胸腔積液或膿胸、氣胸、肺膿腫、壞死性肺炎、支氣管胸膜瘺、急性呼吸窘迫綜合征(ARDS)以及急性呼吸衰竭等。
(2)肺外并發癥。膿毒癥、膿毒性休克、遷延性病灶(心包炎、心內膜炎、腦膜炎、腦膿腫、膿毒癥性關節炎、骨髓炎)、病毒性腦病、溶血尿毒綜合征等。
(二)鑒別診斷。
1.氣道疾病。哮喘、氣道軟化和狹窄合并氣道感染、遷延性細菌性支氣管炎、肺炎支原體等感染性細支氣管炎。根據喘息和肺部喘鳴音對速效支氣管擴張劑的反應、有無雙相喘鳴音、胸片表現、抗菌藥物治療反應等鑒別。肺炎支原體細支氣管炎是近年認識到的一種少見感染類型,大多數有喘息,重者出現呼吸困難,容易遺留閉塞性細支氣管炎和支氣管擴張后遺癥,易與肺炎混淆。
2.非感染性肺部疾病。如吸入性肺炎、彌漫性間質性肺疾病、彌漫性肺泡出血綜合征等。根據有無胃腸道疾病、神經肌肉疾病等引起吸入的基礎疾病、胸部影像學表現等鑒別吸入性肺炎;根據有無貧血以及彌漫性病變等鑒別彌漫性肺泡出血綜合征;根據病史、臨床表現以及彌漫性間質病變等鑒別間質性肺疾病。
3.肺結核。包括原發性肺結核、繼發性肺結核以及結核性胸膜炎。根據臨床表現以及影像學有無縱膈、肺門以及隆突下淋巴結腫大鑒別原發性肺結核;根據臨床表現以及影像學有無空洞和支氣管播散病灶鑒別繼發性肺結核;根據臨床表現、胸水檢查以及影像學有無肺結核表現和肺實變鑒別結核性胸膜炎。
五、病原學檢查
(一)細菌學檢查。
1.血和胸水細菌培養。是細菌性肺炎的確診依據,疑似重癥細菌性感染者應盡早進行血培養,合并胸水的患兒應抽取胸水進行細菌涂片檢查與培養。
2.痰涂片和培養。有一定的參考價值,是目前臨床最常用的方法。痰液必須合格,采用痰液半定量培養方法,如有優勢菌生長可考慮為致病菌。
3.支氣管肺泡灌洗液細菌培養。是明確細菌性肺炎的重要依據,因是有創性檢查方法,不推薦用于所有肺炎的病原檢查,對于常規治療無效的肺炎、非常見的重癥肺炎、免疫功能低下等患兒可進行支氣管肺泡灌洗液細菌培養。
不推薦咽拭子或鼻咽吸出物細菌培養作為細菌性肺炎的診斷依據。
(二)病毒學檢查。
1.鼻咽分泌物病毒抗原檢測。通過免疫酶標或免疫熒光技術檢測鼻咽部脫落細胞中的病毒抗原,是目前臨床最常用的可靠方法,可用于早期快速病原診斷。
2.鼻咽分泌物病毒核酸檢測。應用聚合酶鏈反應技術(PCR)或核酸雜交技術測定脫落細胞中特定病毒的DNA或RNA(逆轉錄-PCR),可用于早期診斷。
3.血清特異抗體。呼吸道病毒感染后,特異IgM出現較早,因而病毒特異IgM的測定可作為病毒感染快速診斷的參考方法。
(三)肺炎支原體檢查。
1.血清學檢查。
(1)急性期和恢復期雙份血清特異性IgG抗體檢測。抗體4倍以上升高是肺炎支原體感染的確診依據,但無早期診斷價值。
(2)血清特異性IgM抗體檢測。推薦顆粒凝集法,IgM>1:160有診斷價值。目前有快速肺炎支原體抗體定性初篩方法,如膠體金法等,對早期診斷有一定特異性,但敏感性不足。
2.肺炎支原體DNA或RNA(PCR)檢測。可采集咽拭子或支氣管肺泡灌洗液標本進行早期診斷。
六、實驗室檢查
(一)外周血白細胞數和中性粒細胞比例。升高常提示細菌性肺炎,特別是革蘭陽性球菌肺炎,是初步鑒別細菌感染以及判斷病情輕重的最基本指標。但重癥細菌感染時,白細胞數和中性粒細胞比例可明顯下降,可有核左移。在細菌感染早期和輕癥細菌感染時可以正常,病毒感染時也可升高,多數難治性支原體肺炎中性粒細胞比例升高。
(二)C反應蛋白(CRP)。起病1—3天內升高常提示細菌性肺炎,升高程度與感染嚴重度密切相關,有效治療后可下降,是鑒別細菌感染、判斷病情輕重以及評估治療反應最常用的指標。但細菌感染早期、輕癥感染或遷延性細菌感染時可以正常,多數難治性支原體肺炎尤其是重癥,CRP多在起病3—4天后升高。重癥病毒感染如流感病毒、腺病毒肺炎等也可在病程中升高。
(三)降鈣素原(PCT)。升高是判斷細菌性肺炎以及是否合并膿毒癥的很好指標,但仍有其局限性,輕度細菌感染者可正常。
(四)其他。住院病人可進行血氣分析、肝腎功能、電解質等檢查,懷疑A群鏈球菌感染者可進行抗“O”檢查。
雖然上述炎性指標在細菌、病毒以及支原體感染之間有一定重疊,特異性不足,且國內檢測CRP和PCT的方法不盡統一,目前尚無統一的判斷折點,但在病程早期,特別是1—3天內炎性指標明顯升高對重癥細菌性肺炎的判斷以及抗菌藥物的使用具有較大的參考意義,對于評估治療反應也具有一定的參考價值。
七、病情判斷和入院標準
(一)病情判斷。
當肺炎患兒出現嚴重的通換氣功能障礙或肺內外并發癥時,即為重癥肺炎。重癥肺炎病死率高,并可遺留后遺癥,需及早識別,推薦以下判斷指標。
1.快速評估。2月齡~5歲以下的兒童,需在家庭、門急診進行快速臨床評估,以便將門急診和院前階段存在潛在風險的肺炎危重癥患兒早期識別出來,可使用WHO標準。即出現下胸壁吸氣性凹陷、鼻翼扇動或呻吟之一表現者,為重癥肺炎;出現中心性紫紺、嚴重呼吸窘迫、拒食或脫水征、意識障礙(嗜睡、昏迷、驚厥)之一表現者,為極重度肺炎。在臨床實踐中,也要結合面色和精神反應分析,若出現面色蒼白或發灰,對周圍環境反應差也視為重癥表現。
2.病情嚴重度需根據年齡、臨床和影像學表現等評估,見表1。
表1 兒童CAP病情嚴重度評估
| 評估項目 |
輕度 |
重度 |
| 一般情況 |
好 |
差 |
| 意識障礙 |
無 |
有 |
| 低氧血癥 |
無 |
紫紺 呼吸增快,RR≥70次/分(嬰兒),RR≥50次/分(1歲以上) 輔助呼吸(呻吟、鼻扇、三凹征) 間歇性呼吸暫停 氧飽和度<92% |
| 發熱 |
未達重度標準 |
超高熱 持續高熱超過5天 |
| 脫水征/拒食 |
無 |
有 |
| 胸片或胸部CT |
未達重度標準 |
≥2/3一側肺浸潤、多葉肺浸潤、 胸腔積液、氣胸、肺不張、肺壞死、肺膿腫 |
| 肺外并發癥 |
無 |
有 |
| 標準 |
上述所有情況都存在 |
出現以上任何一種情況 |
注:炎性指標可以作為評估嚴重度的參考
(二)病情判斷時需注意以下問題。
1.識別重癥肺炎的高危因素。
(1)有基礎疾病史:包括先天性心臟病、支氣管肺發育不良、呼吸道畸形、遺傳代謝疾病、腦發育不良、神經和肌肉疾病、免疫缺陷病、貧血、II 度以上營養不良、既往有感染史、嚴重過敏或哮喘史、早產史、既往住院史、慢性肝腎疾病等;
(2)小于3個月嬰兒;
(3)經積極治療,病情無好轉,病程超過1周。存在這些情況的患兒,病情可在短時間內進展為重癥肺炎,合并基礎疾病者,病死率高。
2.判斷潛在的基礎疾病。即使患兒初診時未提供明確的基礎疾病史,仍需對每例患兒詳細詢問病史和查體,注意營養和體格發育以及神經系統異常等,以判斷有無基礎疾病。
(三)入院標準。
受各地經濟和文化差異、家長對疾病認知度和護理能力等因素影響,不同區域、不同級別醫院的入院標準不能完全統一,但符合以下情況需住院:
1.符合重癥肺炎標準。
2.存在重癥肺炎高危因素。在一、二級醫院應住院,三級醫院可在門診隨診,需密切觀察并告知家長護理觀察要點;
3.家庭不能提供觀察和監護者。
八、治療原則
(一)輕癥肺炎。一般無需住院,可不進行病原體檢查。
(二)病毒性肺炎。輕癥病人或發病初期無細菌感染指證者,應避免使用抗菌藥物。
(三)重癥肺炎。在抗菌藥物應用之前,盡早行病原學檢查以指導目標治療。
(四)抗菌藥物使用。安全有效為原則。根據藥代動力學、藥效學、組織部位濃度以及副作用等選擇。重癥肺炎應用抗菌藥物時劑量可適當加大,有條件可測定血藥濃度。
(五)防止院內感染。除流感病毒肺炎外,腺病毒肺炎、呼吸道合胞病毒肺炎也可在病房傳播,應注意病房隔離和消毒,實施手衛生等措施,避免院內感染。
九、經驗性抗感染治療推薦
應根據年齡、發病季節、流行病學、臨床和影像學表現特點、病情嚴重度、有無基礎疾病以及實驗室檢查等綜合分析可能的病原,重點是及早經驗性識別出潛在的重癥細菌性肺炎、重癥難治性支原體肺炎、腺病毒肺炎以及流感病毒肺炎等,實施針對性經驗治療,以降低病死率和減少后遺癥。
(一)懷疑細菌性肺炎。
1.存在致命性并發癥者。如膿毒癥、膿毒性休克等,推薦糖肽類抗生素或利奈唑胺,必要時聯合頭孢菌素/加酶抑制劑或4代頭孢菌素或碳青霉烯類抗生素。一旦病原體明確,需及早進行目標治療。
2.存在非致命性并發癥者。存在大葉肺實變合并胸腔積液,或伴有肺壞死或膿腫、起病1—3天內炎性指標明顯升高者:推薦使用頭孢曲松或頭孢噻肟。若當地流行病學提示侵襲性肺炎鏈球菌存在對頭孢曲松或頭孢噻肟耐藥菌株或療效不佳時或可疑SA肺炎尤其是MRSA,推薦使用糖肽類抗生素或利奈唑胺。若考慮革蘭陰性、產ESBLs細菌感染可能時,推薦使用頭孢菌素/加酶抑制劑、第4代頭孢菌素等,也可應用亞胺培南、美羅培南等。
3.無上述表現者。根據病情和胃腸道耐受等情況,口服或靜脈應用阿莫西林或阿莫西林/克拉維酸,第1、2代頭孢菌素,必要時第3代頭孢菌素,但第3代頭孢菌素需覆蓋肺炎鏈球菌。懷疑革蘭陰性細菌,但產ESBLs菌的可能性不大者,首選以抗革蘭陰性桿菌為主的第3代頭孢菌素或頭霉素類。
(二)懷疑支原體肺炎。根據病情,可口服或靜脈應用大環內酯類抗菌藥物治療。8歲以上患兒也可選擇多西環素或米諾環素。高度懷疑重癥難治性支原體肺炎時,因在病程7—10天內合并耐藥細菌感染的可能性很低,不建議聯合使用糖肽類抗生素、利奈唑胺以及碳青霉烯類抗生素,可根據病程、臨床和影像學表現、治療反應以及炎性指標的動態變化,聯合或不聯合第2、3代頭孢類藥物。
(三)懷疑病毒性肺炎。可疑流感病毒肺炎,應盡可能在48小時內給予抗流感病毒治療,不必等待流感檢測結果陽性。可疑其他病毒性肺炎,無特效抗病毒藥物,可根據病情、病程以及有無混合感染證據等,確定是否應用抗菌藥物。
十、病原針對性治療推薦
(一)常見細菌性肺炎。
1.肺炎鏈球菌。青霉素敏感SP首選青霉素或阿莫西林;青霉素中介SP仍可以選用青霉素,但劑量需要加大,或阿莫西林、第1,2代頭孢菌素,備選頭孢曲松、頭孢噻肟。對于感染青霉素高耐藥SP,或有肺大葉實變、壞死性肺炎、肺膿腫的患兒,首選頭孢曲松、頭孢噻肟,備選萬古霉素或利奈唑胺。
2.金黃色葡萄球菌。MSSA首選苯唑西林或氯唑西林,備選第1、2代頭孢菌素。CA-MRSA首選萬古霉素,或替考拉寧、利奈唑胺或聯合夫西地酸。
3.流感嗜血桿菌。首選阿莫西林/克拉維酸、氨芐西林/舒巴坦或阿莫西林/舒巴坦,對氨芐西林耐藥時可以選用頭孢呋辛或頭孢曲松等,或新一代大環內酯類抗菌藥物,如阿奇霉素、克拉霉素等。
4.腸桿菌科細菌。大腸埃希菌:首選第3代或第4代頭孢菌素或哌拉西林或頭孢哌酮/舒巴坦、頭霉素類、哌拉西林/他唑巴坦;產ESBLs菌輕、中度感染者首選頭孢哌酮/舒巴坦、哌拉西林/他唑巴坦。重癥感染或其他抗菌藥物治療,療效不佳時選用厄他培南、亞胺培南、美羅培南,若對亞胺培南或美羅培南耐藥,可根據藥敏選擇β-內酰胺類以外抗菌藥物。產AmpC酶細菌感染者可首選頭孢吡肟,備選亞胺培南、美羅培南和帕尼培南。
5.肺炎克雷伯桿菌。同大腸埃希菌。目前在兒科肺炎克雷伯菌對碳青霉烯類抗生素耐藥率明顯高于大腸埃希菌,可根據藥敏,選擇β-內酰胺類以外抗菌藥物,并需要聯合抗生素治療。
(二)非典型病原體肺炎。
1.肺炎支原體肺炎。
(1)大環內酯類抗菌藥物。大環內酯類抗菌藥物包括第1代紅霉素,第2代阿奇霉素、克拉霉素、羅紅霉素。首選阿奇霉素:10 mg/(kg·d),qd,輕癥3 天為1個療程,重癥可連用5~7 天,2—3天后可重復第2個療程;但嬰兒使用阿奇霉素,尤其是靜脈制劑要慎重。紅霉素:20~30mg/(kg·d),療程10~14 天,嚴重者可適當延長。停藥依據臨床癥狀、影像學表現以及炎性指標決定,不宜以肺部實變完全吸收、抗體陰性或MP-DNA轉陰作為停藥指征。
(2)非大環內酯類抗菌藥物。四環素類、氟喹諾酮類藥物對MP有強大抑菌活性與臨床療效。四環素類包括多西環素、米諾環素(美滿霉素)等,因可能導致牙齒發黃或牙釉質發育不良等不良反應,應用于8歲以上患兒。氟喹諾酮類抗生素可用于已經明確的重癥難治性支原體肺炎,因可能對骨骼發育產生不良影響,18歲以下兒童使用受到限制,使用此類藥物應進行風險/利益分析。
2.衣原體肺炎。首選大環內酯類抗生素。紅霉素劑量為40mg/kg.d,療程2~3周。或羅紅霉素,阿奇霉素,克拉霉素。
3.嗜肺軍團菌肺炎。早期應用紅霉素,劑量50mg/kg.d,療程至少3周;或者阿奇霉素、左氧氟沙星。應用氟喹諾酮類抗生素應進行風險/利益分析。
(三)常見病毒性肺炎。
1.流感病毒。詳見《流行性感冒診療方案(2018年版修訂版)》。
2.腺病毒。目前尚無特效抗病毒藥物。對于重癥腺病毒感染,可應用激素及丙種球蛋白等治療。
十一、呼吸支持
(一)保持氣道通暢。保持頸部適度伸展,清理口鼻咽分泌物,維持氣道通暢。咳嗽乏力致氣道分泌物不易排出影響通氣時,行氣管插管或氣管切開。
(二)普通氧療指征。有低氧血癥者應給予氧療。患兒呼吸急促、呼吸困難、紫紺、三凹征陽性均為氧療指征。可用鼻導管、面罩、頭罩吸氧。
(三)無創通氣。兒科常用無創通氣模式為持續氣道正壓通氣(continuous positive airway pressure,CPAP)和雙水平氣道正壓通氣(Bilevel positive airway pressure,BiPAP)。無創通氣指征:
1.輕至中度呼吸困難。表現為呼吸急促,輔助呼吸肌用力,出現三凹征及鼻翼扇動。
2.動脈血氣異常。PH值<7.35,PaCO2>45 mmHg或動脈血氧分壓/吸入氧濃度(PaO2/FiO2)<300 mmHg。
注:需密切監護判斷療效,避免因無創通氣而延誤氣管插管時機。應用無創通氣1~2 小時后病情無好轉,應及時氣管插管機械通氣。
(四)有創機械通氣。普通氧療或無創通氣后通氣氧合無改善,需行機械通氣。機械通氣指征:
1.嚴重低氧血癥。吸氧濃度>50%,而PaO2<50 mmHg。
2.二氧化碳潴留。PaCO2>70 mmHg。
3.呼吸困難。呼吸困難明顯,氣道分泌物不易清除。
4.頻繁呼吸暫停。對合并呼吸窘迫綜合征者應采用小潮氣量的肺保護性通氣策略。
(五)體外膜肺。重癥肺炎合并急性呼吸窘迫綜合征經機械通氣等治療無改善,可考慮體外膜肺(extracorporeal membrane oxygenation, ECMO)治療。ECMO指征:
1.動脈血氧分壓/吸入氧濃度(P/F)<60-80mmHg;
2.氧合指數。OI>40(OI=平均氣道壓(cmH2O)×FiO2(%)×100÷PaO2(mmHg))。
3.高平均氣道壓(cmH2O)。常頻通氣:>20-25,高頻振蕩通氣:>30。
4.有醫源性壓力肺損傷證據。
5.持續性呼吸性酸中毒(pH<7.1)。
注:如心功能尚好,選用靜脈-靜脈模式ECMO,盡量在機械通氣后7天內實行。
十二、對癥治療
根據需要進行退熱、祛痰、平喘等對癥治療。
十三、輔助治療
(一)糖皮質激素。不推薦常規使用。存在下列情況之一者可考慮短期應用:重癥難治性支原體肺炎、A組鏈球菌肺炎、重癥腺病毒肺炎等;難治性膿毒癥休克、病毒性腦病、急性呼吸窘迫綜合征;哮喘或有喘息。
(二)丙種球蛋白。不推薦常規使用。存在下列情況之一者可考慮應用:部分重癥細菌性肺炎,如CA-MRSA肺炎;支原體肺炎并發多形性滲出性紅斑、腦炎等肺外表現;免疫缺陷病,尤其是丙種球蛋白減少或缺乏;重癥腺病毒肺炎等。
(三)支氣管鏡檢查和治療。不推薦常規使用。存在下列情況之一者可考慮應用:經常規治療效果不佳或難治性肺炎,需觀察有無氣管軟化、狹窄、異物阻塞、結核病變或肺泡出血等表現,并留取灌洗液進行病原學分析;炎性分泌物或壞死物致氣道阻塞或肺不張時需及時清除,如難治性支原體肺炎、腺病毒肺炎和流感病毒肺炎等引起氣道大量分泌物,甚至形成塑型物阻塞、粘膜壞死等。感染后氣道損傷診斷:難治性支原體肺炎、腺病毒肺炎、麻疹病毒肺炎和流感病毒肺炎等可引起氣道軟骨破壞、氣道閉塞等氣道結構改變,可通過支氣管鏡下表現診斷和治療。
十四、中醫藥治療
(一)風熱閉肺證。
本證候多見于肺炎初期的患兒。
主癥:發熱,咳嗽,氣急,咽紅。
舌脈:舌紅,苔薄黃,脈浮數,指紋浮紫。
治法:辛涼開閉,宣肺止咳。
基本方藥:銀翹散合麻杏石甘湯加減(金銀花、連翹、炙麻黃、炒杏仁、生石膏、蘆根、魚腥草、甘草)
加減:咳嗽痰多,加川貝母、瓜蔞皮、天竺黃。
常用中成藥:銀黃類制劑、麻杏石甘湯類制劑、膽木類制劑。
(二)風寒閉肺證。
本證候多見于肺炎初期的患兒。
主癥:惡寒發熱,嗆咳氣急,無汗。
舌脈:舌淡紅,舌苔薄白,脈浮緊,指紋浮紅。
治法:辛溫開閉,宣肺止咳。
基本方藥:華蓋散加減(炙麻黃、炒杏仁、蘇子、陳皮、茯苓、白前、甘草)
加減:口渴心煩者,加炒梔子;痰黃稠者,加炙桑白皮、黃芩。
常用中成藥:通宣理肺類制劑、小青龍類制劑。
(三)痰熱閉肺證。
本證候多見于肺炎極期或重癥患兒。
主癥:高熱不退,咳嗽,氣急鼻扇,痰黃粘稠,面赤口渴。
舌脈:舌紅,苔黃膩,脈滑數。
治法:清熱滌痰,開肺定喘。
基本方藥:五虎湯合葶藶大棗瀉肺湯加減(炙麻黃、炒杏仁、生石膏、細茶、葶藶子、萊菔子、瓜蔞、魚腥草、甘草)
加減:便秘,喘急,加生大黃;面唇青紫者,加丹參、桃仁;低熱羈留,咳喘痰鳴,改用瀉白散加味。
常用中成藥:麻杏石甘湯類制劑、葶藶大棗瀉肺類制劑、膽木類制劑。
(四)濕熱閉肺證。
主癥:病程纏綿,發熱咳喘,納呆,便溏不爽。
舌脈:舌苔黃厚膩,脈滑數。
治法:清熱祛濕,化痰開閉。
基本方藥:甘露消毒丹合三仁湯加減(茵陳、藿香、炒杏仁、薏苡仁、白豆蔻、連翹、黃芩、青蒿)
常用中成藥:甘露消毒丹類制劑、清熱利濕類制劑。
(五)毒熱閉肺證。
本證候多見于肺炎極期或重癥患兒。
主癥:高熱熾盛,咳嗽喘憋,煩躁口渴,涕淚俱無,小便短黃,大便秘結。
舌脈:舌紅芒刺,苔黃糙,脈洪數。
治法:清熱解毒,瀉肺開閉。
基本方藥:黃連解毒湯合麻杏石甘湯加減(黃連、黃芩、炒梔子、炙麻黃、炒杏仁、生石膏、知母、蘆根、甘草)
加減:高熱不退,加虎杖、水牛角、丹皮。
常用中成藥:麻杏石甘湯類制劑、膽木類制劑。
(六)虛實夾雜。
本證候多見于難治性肺炎。
主癥:病程較長,咳嗽纏綿,喉中痰鳴,或低熱持續,面白少華,易汗,納差,便溏。
舌脈:舌質淡或暗,舌苔厚膩,脈細無力。
治法:扶正祛邪。
基本方藥:六君子湯合桃紅四物湯(黨參、白術、茯苓、法半夏、陳皮、桃仁、紅花)
加減:高熱咳甚者,可酌情加用羚羊清肺散。
常用中成藥:千金葦莖湯類、六君子湯類制劑、桃紅四物類。
(七)陰虛肺熱證。
本證候多見于肺炎恢復期的患兒。
主癥:病程較長,干咳少痰,低熱盜汗,面色潮紅,五心煩熱。
舌脈:舌質紅乏津,舌苔花剝、少苔或無苔,脈細數。
治法:養陰清肺,潤肺止咳。
基本方藥:沙參麥冬湯加減(沙參、麥冬、百合、百部、玉竹、枇杷葉、五味子)
加減:久咳,加訶子、白屈菜。
常用中成藥:養陰清肺類制劑。
(八)肺脾氣虛證。
本證候多見于肺炎恢復期的患兒。
主癥:咳嗽無力,喉中痰鳴,面白少華,多汗,食欲不振,大便溏。
舌脈:舌質偏淡,舌苔薄白,脈細無力。
治法:補肺健脾,益氣化痰。
基本方藥:人參五味子湯加減(人參、白術、茯苓、五味子、麥冬、陳皮、法半夏、甘草)
加減:多汗,加黃芪、煅牡蠣。
常用中成藥:四君子湯類制劑、玉屏風類制劑。
注:
1.根據患兒年齡、體質及病情輕重斟酌處方藥物用量。
2.為促進肺部炎癥吸收,可配合外用中藥貼敷于胸背部。
十五、并發癥評估以及治療方案
(一)膿毒癥、膿毒性休克、病毒性腦病、腦膜炎等。按相應的疾病處理。
(二)膿胸和氣胸。中大量胸腔積液和氣胸應進行胸腔閉式引流。如果膿胸合并肺實變,尤其是壞死性肺炎,不建議過早應用胸腔鏡清創。
(三)肺切除。壞死性肺炎合并膿氣胸者,肺部病變大多能恢復正常,除外合并畸形或者出現內科難以治療的并發癥如支氣管胸膜瘺、張力性氣胸等,一般應避免行肺葉切除手術。
十六、治療效果評估及療程推薦
(一)效果評估。
1.初次評估。重癥患者初始治療后1~2小時應作病情和療效評估。重點觀察體溫、全身狀況以及缺氧征等是否改善。
2.再次評估。所有患者經48~72小時治療癥狀無改善或一度改善又惡化,應再次進行臨床或/和實驗室評估,并考慮如下問題:(1)抗生素未能覆蓋致病菌;(2)抗生素劑量不足或存在影響抗生素療效的因素;(3)細菌耐藥或者合并其他感染;(4)存在基礎疾病,包括氣道問題;(5)出現并發癥;(6)藥物熱;(7)非感染性肺炎,如間質性肺疾病、血管炎、腫瘤等少見疾病。
(二)療程推薦。門診患兒治療的療程一般為5~7 天。非侵襲性SP肺炎總療程7~10 天,Hi肺炎、MSSA肺炎總療程14 天左右,侵襲性或壞死性SP肺炎、壞死性MSSA肺炎伴膿胸、MRSA肺炎伴膿胸時總療程可延長至21~28 天,甚至更長。革蘭陰性腸桿菌肺炎總療程14 天左右。一般MP肺炎總療程10 ~14 天,難治性支原體肺炎尤其是肺大葉實變者,療程適當延長。
十七、兒童社區獲得性肺炎預防
(一)一般預防。注意開窗通風,少到人口密集和通風條件差的場合,避免與呼吸道感染患者密切接觸。
(二)疫苗接種。推薦流感病毒疫苗、SP疫苗、b型流感嗜血桿菌結合疫苗(Hib)接種。
十八、原發性免疫缺陷者社區獲得性肺炎的治療
免疫缺陷病類型不同,易感的病原體各異。根據免疫缺陷病的類型經驗使用抗生素,并積極進行病原體檢查。對于免疫缺陷類型尚未確定的重癥肺炎患者,抗感染藥物應廣覆蓋可能病原體,之后再根據病情和病原體檢查結果調整。
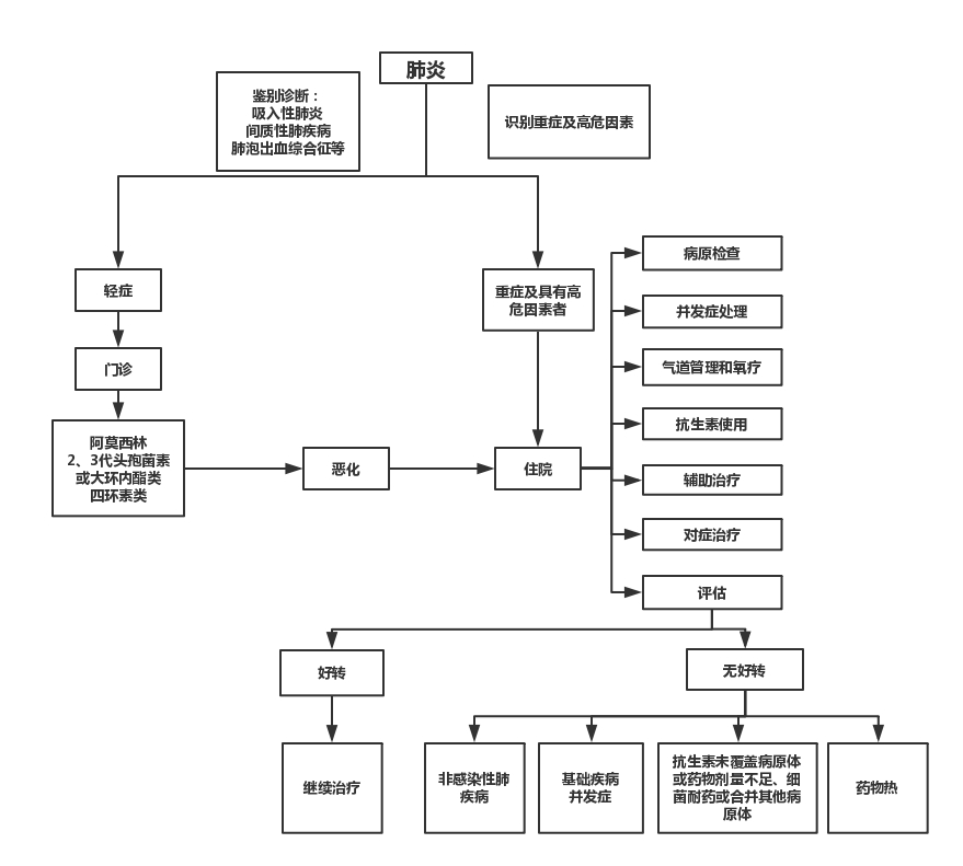
十九、兒童社區獲得性肺炎診療流程圖

附錄
兒童社區獲得性肺炎診療規范(2019年版)
編寫審定專家組
顧問:江載芳、陸權、胡儀吉、董宗祈
組長:倪鑫
成員:馬小軍、王力寧、王立波、王雪峰、方峰、鄧力、馮曉純、任獻青、劉春峰、劉恩梅、劉璽誠、劉瀚旻、李昌崇、李敏、李新民、楊德華、沈照波、宋文琪、陸小霞、陸權、陳志敏、陳強、陳慧中、林麗開、金志鵬、趙成松、趙順英、趙德育、胡儀吉、俞蕙、逄崇杰、洪建國、錢素云、錢淵、倪鑫、殷勇、符州、彭蕓、董芳、董宗祈、曾健生、鮑一笑、熊磊、薛征
相關鏈接:兒童社區獲得性肺炎診療規范發布,明確中醫藥治療方法